АСПИРАЦИЯ СТРУЖКОПЫЛЕСОС



Стружкопылесосы серии СП и СР предназначены для удаления из зоны резания работающего оборудования воздуха, содержащего древесные обломки, стружку и пыль и дальнейшей очистки воздуха.
Эффективное удаление стружки и пыли из зоны резания деревообрабатывающих станков обеспечивается за счет создания высокого разряжения воздуха, достигаемого турбиной вентилятора оригинальной конструкции.

Конструкция стружкопылесоса позволяет изменять положение турбины относительно корпуса вентилятора, что позволяет изменять производительность по очищаемому воздуху и выбрать оптимальное соотношение между производительностью и уровнем шумовой нагрузки.


Пылесосы серии СР по сравнению с серией СП оснащаются рукавными фильтрами с более высокой дисперсностью фильтрации и имеют эффективность очистки воздуха от производственно-технологической древесной пыли 99%. Это позволяет стружкопылесосам серии СР успешно обслуживать шлифовально-калибровальное оборудование.
В процессе работы рукавные фильтры засоряются, что приводит к возрастанию аэродинамического сопротивления в 1,5...4 раза и снижению производительности очистки. Поэтому за состоянием рукавных фильтров надо более внимательно следить, по сравнению с традиционными на основе нетканого полиэфирного волокна, где даже полное засорение фильтра приводит к снижению производительности очистки не более 15%.



Обращаем Ваше внимание! С середины 2018 года наше предприятие перешло на новый стандарт пошива и использования фильтровальных мешков. Мы перешли от широко распространенного ранее стандарта высоты фильтровального мешка в 1 метр на новый размер в 1,5 метра. В связи с этим выгодно в 1,5 выросла раза площадь фильтров с 1,9 м. кв. до 2,8 м. кв., что существенно, в лучшую сторону, повлияло на работу аспирации.

Фильтр большей площади имеет меньшее аэродинамическое сопротивление, как чистый, так и при любой степени загрязненности. Снижается нагрузка на двигатель, снижается расход электроэнергии, аспирация в целом работает более эффективно.

На фото, чтобы Вы смогли визуально оценить разницу в фильтрах, на аспирацию СП-3200ВР3 мы надели фильтровальные мешки разных стандартов. Фильтровальный мешок высотой 1 метр в середине.



При необходимости в стандартную конструкцию будут внесены изменения и аспирация будет изготовлена и отгружена с учетом всех пожеланий Заказчика. Всегда уточняются: корпус сборной или цельносварной, входной коллектор вверх или вниз, количество и диаметр входов и их направленность.




Производи­тельность Мощность Накопитель К-во входов Фильтр
СП-3200 3200 м³/ч 1,5 кВт 1 мешок 2 2,8 м²
СП-3200 ДУ 3200 м³/ч 2,2 кВт 2 мешка 3 5,6 м²
СП-3200 ВР3 3200 м³/ч 2,2 кВт 3 мешка 3 8,4 м²
СП-4800 4800 м³/ч 3,0 кВт 1 мешок 4 2,8 м²
СП-4800 ДУ 4800 м³/ч 3,0(4,0) кВт 2 мешка 4 5,6 м²
СП-4800 ВР3 4800 м³/ч 3,0(4,0) кВт 3 мешка 4 8,4 м²
СР-3200 3200 м³/ч 1,5 кВт 1 мешок 2 5,2 м²
СР-3200Ц 3200 м³/ч 1,5 кВт циклон 2 5,2 м²
СР-4800 4800 м³/ч 3,0 кВт 1 мешок 4 5,2 м²
СР-4800 ББ 4800 м³/ч 3,0(4,0) кВт 1 биг/бег 4 5,2 м²
СР-4800 ДУ 4800 м³/ч 3,0(4,0) кВт 2 мешка 4 10,4 м²



В комплект аспирации (т.е. в стоимость) входят:
-гофрированный рукав Ø125 мм длинной 6 метров
-электромагнитный пускатель с тепловым реле защиты закрытого типа, исполнения IP 54 типа ПМЛ-1220 с кнопкой стоп-пуск, установленный и смонтированный на корпусе аспирации
-соответствеющее количество фильтров и мешков накопителей.



Сопутствующие и быстроизнашивающиеся изделия


Рукав гофрированный ø 125 полиуретановый, за 1 м
Рукав гофрированный ø 125 пхв, за 1 м
Рукав гофрированный в ассортименте, за 1 м
Фильтр в виде мешка 1 м.
Фильтр в виде мешка 1,5 м.
Рукавные фильтра 2 м.
Рукавные фильтра 3 м.
Мешок накопитель

Стружкопылесос СП-3200




СП - 3200 в номинальном режиме при постоянной работе (мощность двигателя 1,5 или 2,2 кВт), гарантированно обслуживает такие сочетания оборудования, как 2 фрезерных станка ФСШ-1А, фрезерный + фуговальный 400 мм или комбинации аналогич-ного оборудования.


Максимальная производительность по воздуху, новый фильтровальный мешок, м³/час3200
Максимальная производительность по воздуху, загрязненный фильтровальный мешок, м³/час2880
Эффективность очистки воздуха, %, не менее95
Материал рабочего колесаАлюминиевый сплав АК7ч,ГОСТ 1583-89
Объем мешка накопителя, м³0,22
Количество мешков накопителей, шт.1
Количество всасывающих патрубков Ø 125, шт.2 (или в соответствии с требованиями)
Среднее квадратическое значение виброскорости. мм/с, не более6,3
Диаметр гибких воздуховодов, мм125
Мощность электродвигателя, кВт1,5(2,2)
Суммарный уровень звука, дБА, не более78
Масса, кг, не более65
Габаритные размеры, мм, не более
    длина
    ширина
    высота
 
1075
555
2600
Род токаПеременный, трехфазный
Номинальное напряжение, В380
Номинальный ток, А3,5...4,9 (в зависимости от режима работы)
Номинальная частота, Гц50
Номинальная частота вращения вала двигателя, об/мин2860
Потребляемая мощность, кВт, не более1,3...2,0 (в зависимости от режима работы)
Сечение жил кабеляКГ 3х2,5+1х1,5
Наружный диаметр кабеля, мм10-12
Зависимость между производительностью и полным давлением в рабочей зоне от величины зазора между рабочим колесом и язычком улитки корпуса вентилятора. При уменьшении зазора увеличивается уровень шума.

1 – при максимальном, 2 – при минимальном зазоре между рабочим колесом и языком улитки корпуса вентилятора стружкопылесоса
 
 
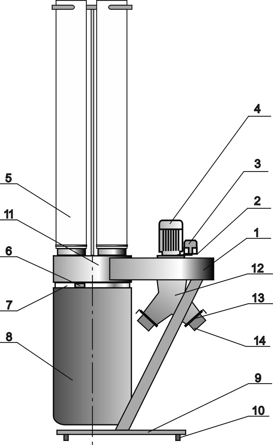
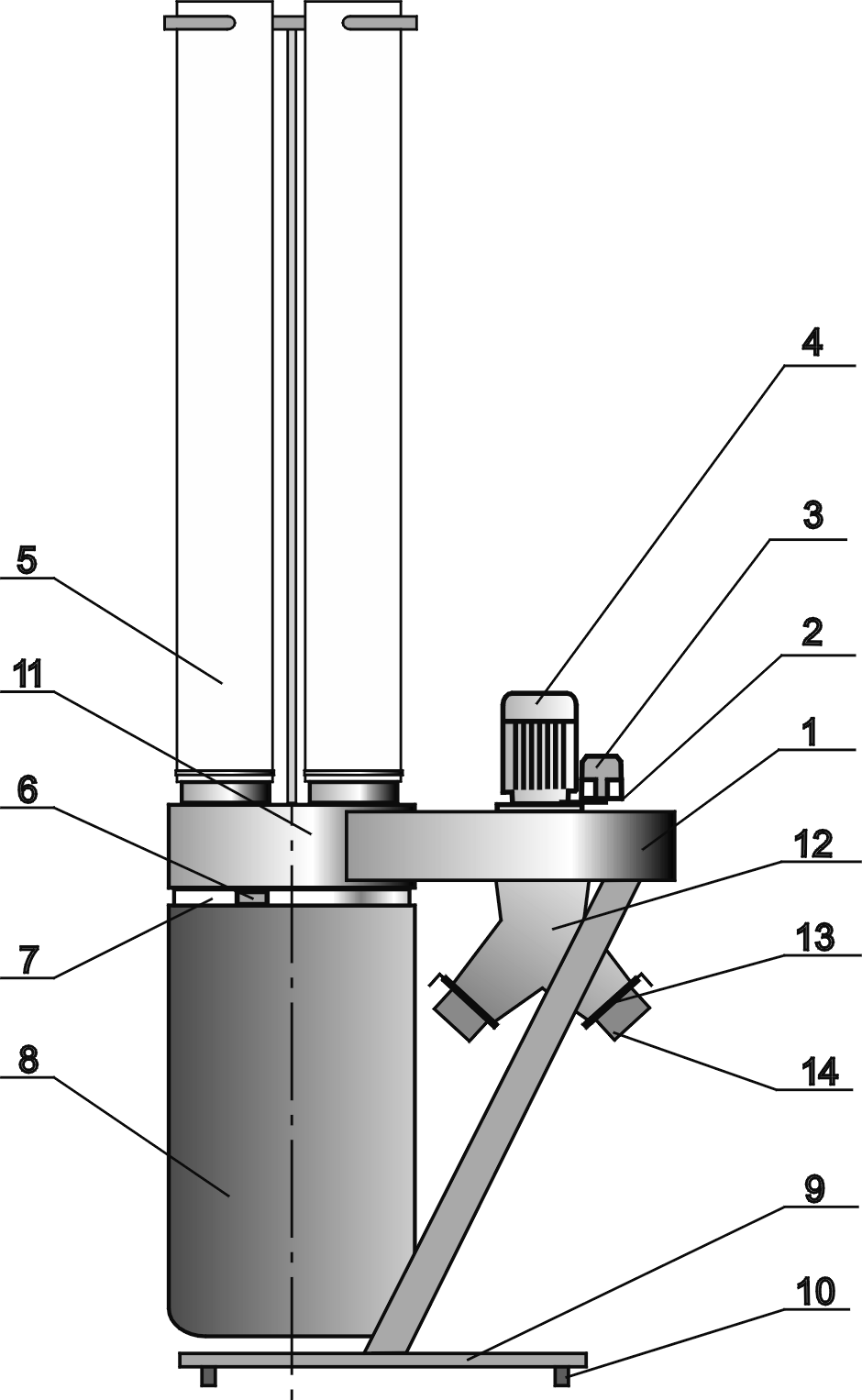
   Промышленная аспирация (стружкопылесос) СП-3200 изготовлен на базе вентилятора высокого давления поз. 1, совмещенного с обечайкой поз. 11, которые составляют единое целое и являются корпусом аспирации. Корпус закреплен на двух опорах, установленных на основании поз. 9, оборудованном шестью виброизоляторами поз. 10.

   Воздух с древесной стружкой по гибкому воздуховоду, надетому на выходной патрубок поз. 14 коллектора поз. 12, попадает в улитку вентилятора, где древесная стружка приобретает высокую окружную скорость по касательной и попадает в обечайку поз. 11, где имеется винтовой сегмент, осаждающий стружку и твердые включения в мешок-накопитель поз. 8. Винтовой сегмент не позволяет стружке постоянно перемешиваться в объеме фильтровально-накопительного пространства аспирации и защищает фильтровальный мешок поз. 5. Отфильтрованный воздух через фильтровальный мешок возвращается обратно в помещение. Мешок-накопитель закреплен на обечайке обручем поз. 7 из стальной пружинной ленты и защелками поз. 6.

   Двигатель фланцевого исполнения закреплен на корпусе шестью винтами М5 через промежуточный эксцентрический диск, который позволяет при повороте изменять расстояние от кромки рабочего колеса к язычку улитки корпуса вентилятора.

   На корпусе двигателя, на кронштейне поз. 2 установлен электромагнитный пускатель поз. 3 с тепловым реле типа ПМЛ–1220, имеющий степень защиты IP 54 по ГОСТ 14254 – 96.
 
 

 
 
 
 


Конструкция, общие виды стружкопылесоса СП-3200.





Аспирация стружкопылесос СП-3200.



Стружкопылесос СП-3200ДУ




Имеет два мешочных фильтра и два мешка накопителя. Фильтры общей площадью 5,6 м.кв. снижают аэродинамическое сопротивление, нагрузку на двигатель, повышают производительность по воздуху по мере загрязнения фильтров. Два мешка накопителя больше вмещают стружки и позволяют реже удалять отходы.


СП - 3200ДУ, в номинальном режиме при постоянной работе (мощность двигателя 2,2 кВт), гарантированно, с запасом, обслуживает такие сочетания оборудования, как 2...3 фрезерных станка ФСШ-1А, фрезерный + фуговальный 400 мм или комбинации аналогичного оборудования.


Максимальная производительность по воздуху, новый фильтровальный мешок, м³/час3200
Максимальная производительность по воздуху, загрязненный фильтровальный мешок, м³/час2880
Эффективность очистки воздуха, %, не менее95
Материал рабочего колесаАлюминиевый сплав АК7ч,ГОСТ 1583-89
Объем мешка накопителя, м³0,22
Количество мешков накопителей, шт.2
Количество всасывающих патрубков Ø 125, шт.3 (или в соответствии с требованиями Потребителя)
Среднее квадратическое значение виброскорости. мм/с, не более6,3
Диаметр гибких воздуховодов, мм125
Мощность электродвигателя, кВт2,2
Суммарный уровень звука, дБА, не более80
Масса, кг, не более90
Габаритные размеры, мм, не более
    длина
    ширина
    высота
 
1255
1060
2600
Род токаПеременный, трехфазный
Номинальное напряжение, В380
Номинальный ток, А3,5...4,9 (в зависимости от режима работы)
Номинальная частота, Гц50
Номинальная частота вращения вала двигателя, об/мин2860
Потребляемая мощность, кВт, не более1,3...2,0 (в зависимости от режима работы)
Сечение жил кабеляКГ 3х2,5+1х1,5
Наружный диаметр кабеля, мм10-12
Зависимость между производительностью и полным давлением в рабочей зоне от величины зазора между рабочим колесом и язычком улитки корпуса вентилятора. При уменьшении зазора увеличивается уровень шума.

1 – при максимальном, 2 – при минимальном зазоре между рабочим колесом и языком улитки корпуса вентилятора стружкопылесоса
 
 
   Промышленная аспирация (стружкопылесос) СП-3200ДУ изготовлен на базе вентилятора высокого давления поз. 1, совмещенного с обечайкой поз. 11, которые составляют единое целое и являются корпусом аспирации. Корпус закреплен на двух опорах, установленных на основании поз. 9, оборудованном шестью виброизоляторами поз. 10.

   Воздух с древесной стружкой по гибкому воздуховоду, надетому на вы-ходной патрубок поз. 14 коллектора поз. 12, попадает в улитку вентилятора, где древесная стружка приобретает высокую окружную скорость по касательной и попадает в обечайку поз. 11, где имеется винтовой сегмент, осаждающий стружку и твердые включения в мешок-накопитель поз. 8. Винтовой сегмент не позволяет стружке постоянно перемешиваться в объеме фильтровально-накопительного пространства аспирации и защищает фильтровальный мешок поз. 5. Отфильтрованный воздух через фильтровальный мешок возвращается обратно в помеще-ние. Мешок-накопитель закреплен на обечайке обручем поз. 7 из стальной пружинной ленты и защелками поз. 6.

   Двигатель фланцевого исполнения закреплен на корпусе шестью винтами М5 через промежуточный эксцентрический диск, который позволяет при повороте изменять расстояние от кромки рабочего колеса к язычку улитки корпуса вентилятора.
 
 

 
 
 
 



Стружкопылесос СП-3200BP3




Имеет три мешочных фильтра и три мешка накопителя. Фильтры общей площадью 7,4 м.кв. снижают аэродинамическое сопротивление, нагрузку на двигатель, повышают производительность по воздуху по мере загрязнения фильтров. Три мешка накопителя больше вмещают стружки и позволяют реже удалять отходы.

СП-3200ВР3, в номинальном режиме при постоянной работе (мощность двигателя 2,2 кВт), гарантированно, с запасом, обслуживает такие сочетания оборудования, как 2 ... 3 фрезерных станка ФСШ-1А, фрезерный + фуговальный 400 мм или комбинации аналогичного оборудования.


Максимальная производительность по воздуху, новый фильтровальный мешок, м³/час3200
Максимальная производительность по воздуху, загрязненный фильтровальный мешок, м³/час2880
Эффективность очистки воздуха, %, не менее95
Материал рабочего колесаАлюминиевыйсплав АК7ч, ГОСТ 1583-89
Объем мешка накопителя, м³0,22
Количество мешков накопителей, шт.3
Количество всасывающих патрубков Ø 125, шт.3 (или в соответствии с требованиями Потребителя)
Среднее квадратическое значение виброскорости. мм/с, не более6,3
Диаметр гибких воздуховодов, мм125
Мощность электродвигателя, кВт2,2
Суммарный уровень звука, дБА, не более80
Масса, кг, не более110
Габаритные размеры, мм, не более
    длина
    ширина
    высота
 
2550
560
2600
Род токаПеременный, трехфазный
Номинальное напряжение, В380
Номинальный ток, А3,5...4,9 (в зависимости от режима работы)
Номинальная частота, Гц50
Номинальная частота вращения вала двигателя, об/мин2860
Потребляемая мощность, кВт, не более1,3...2,0 (в зависимости от режима работы)
Сечение жил кабеляКГ 3х2,5+1х1,5
Наружный диаметр кабеля, мм10-12
Зависимость между производительностью и полным давлением в рабочей зоне от величины зазора между рабочим колесом и язычком улитки корпуса вентилятора. При уменьшении зазора увеличивается уровень шума.

1 – при максимальном, 2 – при минимальном зазоре между рабочим колесом и языком улитки корпуса вентилятора стружкопылесоса
 
 

 
 
 
 



Стружкопылесос СП-4800




СП - 4800, в номинальном режиме при постоянной работе (мощность двигателя 3,0 кВт), гарантированно обслуживает такие сочетания оборудования, как 3...4 фрезерных станка ФСШ-1А, 2-а фрезерных + фуговальный 400 мм или комбинации аналогичного оборудования. Применяется при небольшом количестве отходов, но одновременной работе 3...4 единиц оборудования.


Максимальная производительность по воздуху, новый фильтровальный мешок, м³/час4800
Максимальная производительность по воздуху, загрязненный фильтровальный мешок, м³/час4320
Эффективность очистки воздуха, %, не менее95
Материал рабочего колесаАлюминиевый сплав АК7ч,ГОСТ 1583-89
Объем мешка накопителя, м³0,22
Количество мешков накопителей, шт.1
Количество всасывающих патрубков Ø 125, шт.3...4 (или в соответствии с требованиями Потребителя)
Среднее квадратическое значение виброскорости. мм/с, не более6,3
Диаметр гибких воздуховодов, мм125
Мощность электродвигателя, кВт3,0
Суммарный уровень звука, дБА, не более78
Масса, кг, не более75
Габаритные размеры, мм, не более
    длина
    ширина
    высота
 
1155
660
2655
Род токаПеременный, трехфазный
Номинальное напряжение, В380
Номинальный ток, А6,6 (в зависимости от режима работы)
Номинальная частота, Гц50
Номинальная частота вращения вала двигателя, об/мин2860
Потребляемая мощность, кВт, не более2,4 (в зависимости от режима работы)
Сечение жил кабеляКГ 3х2,5+1х1,5
Наружный диаметр кабеля, мм10-12
Зависимость между производительностью и полным давлением в рабочей зоне от величины зазора между рабочим колесом и язычком улитки корпуса вентилятора. При уменьшении зазора увеличивается уровень шума.

1 – при максимальном, 2 – при минимальном зазоре между рабочим колесом и языком улитки корпуса вентилятора стружкопылесоса
 
 
   Промышленная аспирация (стружкопылесос) СП-4800 изготовлена на базе вентилятора высокого давления поз. 1, совмещенного с обечайкой поз. 11, которые составляют единое целое и являются корпусом аспирации. Корпус закреплен на двух опорах, установленных на основании поз. 9, оборудованном шестью виброизоляторами поз. 10.

   Воздух с древесной стружкой по гибкому воздуховоду, надетому на выходной патрубок поз. 14 коллектора поз. 12, попадает в улитку вентилятора, где древесная стружка приобретает высокую окружную скорость по касательной и попадает в обе-чайку поз. 11, где имеется винтовой сегмент, осаждающий стружку и твердые включения в мешок-накопитель поз. 8. Винтовой сегмент не позволяет стружке постоянно перемешиваться в объеме фильтровально-накопительного пространства аспирации и защищает фильтровальный мешок поз. 5. Отфильтрованный воздух через филь-тровальный мешок возвращается обратно в помещение. Мешок-накопитель закреплен на обечайке обручем поз. 7 из стальной пружинной ленты и защелками поз. 6.

   Двигатель фланцевого исполнения закреплен на корпусе шестью винтами М5 через промежуточный эксцентрический диск, который позволяет при повороте изменять расстояние от кромки рабочего колеса к язычку улитки корпуса вентилятора.

   На корпусе двигателя, на кронштейне поз. 2 установлен электромагнитный пускатель поз. 3 с тепловым реле типа ПМЛ–1220, имеющий степень защиты IP 54 по ГОСТ 14254 – 96.
 
 

 
 
 
 



Стружкопылесос СП-4800ДУ






Это вторая из моделей, пользующихся наибольшим спросом и популярностью, аспирация СП-4800 ДУ (мешочный фильтр, двойная угловая, серия аспираций малой производительности)


Данная модель позволяет обеспечить очистку воздуха при работе одновременно 4 единиц оборудования, таких как фрезерный ФСШ-1А, фуговальный 400 мм или аналогичные. Это означает что Потребитель купив одну аспирацию СП-4800 ДУ может подключить 4...6 единиц оборудования и одновременно работать на 3...4. Т.е. одна аспирация может обеспечить приемлемые условия для работы небольшого деревообрабатывающего участка.


Максимальная производительность по воздуху, новый фильтровальный мешок, м³/час4800
Максимальная производительность по воздуху, загрязненный фильтровальный мешок, м³/час4320
Эффективность очистки воздуха, %, не менее95
Материал рабочего колесаАлюминиевый сплав АК7ч,ГОСТ 1583-89
Объем мешка накопителя, м³0,22
Количество мешков накопителей, шт.2
Количество всасывающих патрубков Ø 125, шт.4 (или в соответствии с требованиями Потребителя)
Среднее квадратическое значение виброскорости. мм/с, не более6,3
Диаметр гибких воздуховодов, мм125
Мощность электродвигателя, кВт3,0(4,0)
Суммарный уровень звука, дБА, не более80
Масса, кг, не более94
Габаритные размеры, мм, не более
    длина
    ширина
    высота
 
1215
1150
2655
Род токаПеременный, трехфазный
Номинальное напряжение, В380
Номинальный ток, А6,6...8,4(в зависимости от режима работы)
Номинальная частота, Гц50
Номинальная частота вращения вала двигателя, об/мин2860
Потребляемая мощность, кВт, не более2,5...3,5 (в зависимости от режима работы)
Сечение жил кабеляКГ 3х2,5+1х1,5
Наружный диаметр кабеля, мм10-12
Зависимость между производительностью и полным давлением в рабочей зоне от величины зазора между рабочим колесом и язычком улитки корпуса вентилятора. При уменьшении зазора увеличивается уровень шума.

1 – при максимальном, 2 – при минимальном зазоре между рабочим колесом и языком улитки корпуса вентилятора стружкопылесоса
 
 
   Промышленная аспирация (стружкопылесос) СП-4800ДУ изготовлена на базе венти-лятора высокого давления поз. 1, совмещенного с обечайкой поз. 11, кото-рые составляют единое целое и являются корпусом аспирации. Корпус закреплен на двух опорах, установленных на основании поз. 9, оборудованном шестью виброизо-ляторами поз. 10.

   Воздух с древесной стружкой по гибкому воздуховоду, надетому на выходной патрубок поз. 14 коллектора поз. 12, попадает в улитку вентилятора, где древесная стружка приобретает высокую окружную скорость по касательной и попадает в обе-чайку поз. 11, где имеется винтовой сегмент, осаждающий стружку и твердые вклю-чения в мешок-накопитель поз. 8. Винтовой сегмент не позволяет стружке постоянно перемешиваться в объеме фильтровально-накопительного пространства аспирации и защищает фильтровальный мешок поз. 5. Отфильтрованный воздух через филь-тровальный мешок возвращается обратно в помещение. Мешок-накопитель закреп-лен на обечайке обручем поз. 7 из стальной пружинной ленты и защелками поз. 6.

   Двигатель фланцевого исполнения закреплен на корпусе шестью винтами М5 через промежуточный эксцентрический диск, который позволяет при повороте изме-нять расстояние от кромки рабочего колеса к язычку улитки корпуса вентилятора.

   На корпусе двигателя, на кронштейне поз. 2 установлен электромагнитный пускатель поз. 3 с тепловым реле типа ПМЛ–1220, имеющий степень защиты IP 54 по ГОСТ 14254 – 96.
 
 

 
 
 
 



Стружкопылесос СП-4800ВР3






Имеет три мешочных фильтра и три мешка накопителя. Фильтры площадью 7,4 м.кв. снижают аэродинамическое сопротивление, нагрузку на двигатель, повышает производительность по воздуху по мере загрязнения фильтров. Три мешка накопителя вмещают больше стружки и позволяют реже удалять отходы.


Данная модель позволяет обеспечить очистку воздуха при работе одновременно 4 единиц оборудования, таких как фрезерный ФСШ-1А, фуговальный 400 мм или аналогичные. Это означает что Потребитель купив одну аспирацию СП-4800ВР3 может подключить 4...6 единиц оборудования и одновременно работать на 3...4. Т.е. одна аспирация может обеспечить приемлемые условия для работы небольшого деревообрабатывающего участка.


Максимальная производительность по воздуху, новый фильтровальный мешок, м³/час4800
Максимальная производительность по воздуху, загрязненный фильтровальный мешок, м³/час4320
Эффективность очистки воздуха, %, не менее95
Материал рабочего колесаАлюминиевый сплав АК7ч,ГОСТ 1583-89
Объем мешка накопителя, м³0,22
Количество мешков накопителей, шт.3
Количество всасывающих патрубков Ø 125, шт.4 (или в соответствии с требованиями Потребителя)
Среднее квадратическое значение виброскорости. мм/с, не более6,3
Диаметр гибких воздуховодов, мм125
Мощность электродвигателя, кВт3,0(4,0)
Суммарный уровень звука, дБА, не более78
Масса, кг, не более100
Габаритные размеры, мм, не более
    длина
    ширина
    высота
 
2650
660
2655
Род токаПеременный, трехфазный
Номинальное напряжение, В380
Номинальный ток, А6,6...8,4 (в зависимости от режима работы)
Номинальная частота, Гц50
Номинальная частота вращения вала двигателя, об/мин2860
Потребляемая мощность, кВт, не более2,5...3,5 (в зависимости от режима работы)
Сечение жил кабеляКГ 3х2,5+1х1,5
Наружный диаметр кабеля, мм10-12
Зависимость между производительностью и полным давлением в рабочей зоне от величины зазора между рабочим колесом и язычком улитки корпуса вентилятора. При уменьшении зазора увеличивается уровень шума.

1 – при максимальном, 2 – при минимальном зазоре между рабочим колесом и языком улитки корпуса вентилятора стружкопылесоса
 
 

 
 
 
 












Стружкопылесос СР-3200




СР-3200 позволяет эксплуатировать шлифовальное деревообрабатывающее оборудование при необходимости очистки воздуха до 3200 м³./ час, как например ШЛПС. Применение данной аспирации обязательно рассматривается и согласуется со специалистами нашего предприятия, потому что шлифовальное оборудование требует значительной производительности по воздуху. Применяется в различных отраслях промышленности (пищевая, целлюлозно-бумажная, строительство и др.) где возникает необходимость очистить воздух от пыли.


Максимальная производительность по воздуху, новый фильтровальный мешок, м³/час3200
Максимальная производительность по воздуху, загрязненный фильтровальный мешок, м³/час2880
Эффективность очистки воздуха, %, не менее95
Материал рабочего колесаАлюминиевый сплав АК7ч,ГОСТ 1583-89
Объем мешка накопителя, м³0,22
Количество мешков накопителей, шт.1
Количество всасывающих патрубков Ø 125, шт.2 (или в соответствии с требованиями Потребителя)
Среднее квадратическое значение виброскорости. мм/с, не более6,3
Диаметр гибких воздуховодов, мм-
Мощность электродвигателя, кВт1,5(2,2)
Суммарный уровень звука, дБА, не более78
Масса, кг, не более85
Габаритные размеры, мм, не более
    длина
    ширина
    высота
 
1075
600
3150
Род токаПеременный, трехфазный
Номинальное напряжение, В380
Номинальный ток, А3,5...4,9 (в зависимости от режима работы)
Номинальная частота, Гц50
Номинальная частота вращения вала двигателя, об/мин2860
Потребляемая мощность, кВт, не более1,3...2,0 (в зависимости от режима работы)
Сечение жил кабеляКГ 3х2,5+1х1,5
Наружный диаметр кабеля, мм10-12
Зависимость между производительностью и полным давлением в рабочей зоне от величины зазора между рабочим колесом и язычком улитки корпуса вентилятора. При уменьшении зазора увеличивается уровень шума.

1 – при максимальном, 2 – при минимальном зазоре между рабочим колесом и языком улитки корпуса вентилятора стружкопылесоса
 
 

 
 
   Промышленный стружкопылесос СР-3200 изготовлен на базе вентилятора высокого давления поз. 1, совмещенного с обечайкой поз. 11, которые составляют единое целое и являются корпусом стружкопылесоса. Корпус закреплен на двух опорах, установленных на основании поз. 9, оборудованном шестью виброизоляторами поз. 10.

   Воздух с древесной стружкой по гибкому воздуховоду, надетому на выходной патрубок поз. 14 коллектора поз. 12, попадает в улитку вентилятора, где древесная стружка приобретает высокую окружную скорость по касательной и попадает в обечайку поз. 11, где имеется винтовой сегмент, осаждающий стружку и твердые включения в мешок-накопитель поз. 8. Винтовой сегмент не позволяет стружке постоянно перемешиваться в объеме фильтровально-накопительного пространства аспирации и защищает фильтровальный рукав поз.

   Отфильтрованный воздух через фильтровальный рукав возвращается обратно в помещение. Мешок-накопитель закреплен на обечайке обручем поз. 7 из стальной пружинной ленты и защелками поз. 6.

   Двигатель фланцевого исполнения закреплен на корпусе шестью винтами М5 через промежуточный эксцентрический диск, который позволяет при повороте изменять расстояние от кромки рабочего колеса к язычку улитки корпуса вентилятора.

   На корпусе двигателя, на кронштейне поз. 2 установлен электромагнитный пускатель поз. 3 с тепловым реле типа ПМЛ–1220, имеющий степень защиты IP 54 по ГОСТ 14254 – 96.
 
 

 
 
 
 






Стружкопылесос СР-3200Ц




СР-3200Ц, имея предварительный фильтр в виде циклона, эффективно используется для очистки воздуха от металлической, металлопластиковой стружки и пыли с высокими абразивными свойствами. Аспирация СР-3200Ц находит применение в металлообработке, машиностроении, производстве металлопластиковых окон и других отраслях промышленности со сходными условиями эксплуатации.


Максимальная производительность по воздуху, новый фильтровальный мешок, м³/час3200
Максимальная производительность по воздуху, загрязненный фильтровальный мешок, м³/час2880
Эффективность очистки воздуха, %, не менее95
Материал рабочего колесаАлюминиевый сплав АК7ч,ГОСТ 1583-89
Объем мешка накопителя, м³0,22
Количество мешков накопителей, шт.Циклон с ручной периодической очисткой
Количество всасывающих патрубковВ соответствии с требованиями Потребителя
Среднее квадратическое значение виброскорости. мм/с, не более6,3
Диаметр гибких воздуховодов, мм-
Мощность электродвигателя, кВт1,5(2,2)
Суммарный уровень звука, дБА, не более78
Масса, кг, не более95
Габаритные размеры, мм, не более
Габаритные размеры, мм, не более
    длина
    ширина
    высота
 
1075
600
3150
Род токаПеременный, трехфазный
Номинальное напряжение, В380
Номинальный ток, А3,5...4,9 (в зависимости от режима работы)
Номинальная частота, Гц50
Номинальная частота вращения вала двигателя, об/мин2860
Потребляемая мощность, кВт, не более1,3...2,0 (в зависимости от режима работы)
Сечение жил кабеляКГ 3х2,5+1х1,5
Наружный диаметр кабеля, мм10-12
Зависимость между производительностью и полным давлением в рабочей зоне от величины зазора между рабочим колесом и язычком улитки корпуса вентилятора. При уменьшении зазора увеличивается уровень шума.

1 – при максимальном, 2 – при минимальном зазоре между рабочим колесом и языком улитки корпуса вентилятора стружкопылесоса
 
 

 
 

 
 
 
 



Стружкопылесос СР-4800




СР-4800 позволяет эксплуатировать шлифовальное деревообрабатывающее оборудование при необходимости очистки воздуха до 4800 м³./ час. Применение данной аспирации обязательно рассматривается и согласуется со специалистами нашего предприятия. Потому что шлифовальное оборудование требует значительной производительности по воздуху. Применяется также широко в различных отраслях промышленности (пищевая, целлюлозно-бумажная, строительство и др.) где возникает необходимость очистить воздух от пыли.


Максимальная производительность по воздуху, новый фильтровальный мешок, м³/час4800
Максимальная производительность по воздуху, загрязненный фильтровальный мешок, м³/час4320
Эффективность очистки воздуха, %, не менее95
Материал рабочего колесаАлюминиевый сплав АК7ч,ГОСТ 1583-89
Объем мешка накопителя, м³0,22
Количество мешков накопителей, шт.1
Количество всасывающих патрубков Ø 125, шт.3...4 (или в соответствии с требованиями Потребителя)
Среднее квадратическое значение виброскорости. мм/с, не более6,3
Диаметр гибких воздуховодов, мм125
Мощность электродвигателя, кВт3,0
Суммарный уровень звука, дБА, не более80
Масса, кг, не более85
Габаритные размеры, мм, не более
    длина
    ширина
    высота
 
1155
660
3230
Род токаПеременный, трехфазный
Номинальное напряжение, В380
Номинальный ток, А6,6 (в зависимости от режима работы)
Номинальная частота, Гц50
Номинальная частота вращения вала двигателя, об/мин2860
Потребляемая мощность, кВт, не более2,4 (в зависимости от режима работы)
Сечение жил кабеляКГ 3х2,5+1х1,5
Наружный диаметр кабеля, мм10-12
Зависимость между производительностью и полным давлением в рабочей зоне от величины зазора между рабочим колесом и язычком улитки корпуса вентилятора. При уменьшении зазора увеличивается уровень шума.

1 – при максимальном, 2 – при минимальном зазоре между рабочим колесом и языком улитки корпуса вентилятора стружкопылесоса
 
 

 
 
   Промышленный стружкопылесос СР-4800 изготовлен на базе вентилятора высокого давления поз. 1, совмещенного с обечайкой поз. 11, которые составляют единое целое и являются корпусом стружкопылесоса. Корпус закреплен на двух опорах, установленных на основании поз. 9, оборудованном шестью виброизоляторами поз. 10.

   Воздух с древесной стружкой по гибкому воздуховоду, надетому на выходной патрубок поз. 14 коллектора поз. 12, попадает в улитку вентилятора, где древесная стружка приобретает высокую окружную скорость по касательной и попадает в обечайку поз. 11, где имеется винтовой сегмент, осаждающий стружку и твердые включения в мешок-накопитель поз. 8. Винтовой сегмент не позволяет стружке постоянно перемешиваться в объеме фильтровально-накопительного пространства аспирации и защищает фильтровальный рукав поз. 5. Отфильтрованный воздух через фильтровальный рукав возвращается обратно в помещение. Мешок-накопитель закреплен на обечайке обручем поз. 7 из стальной пружинной ленты и защелками поз. 6.

   Двигатель фланцевого исполнения закреплен на корпусе шестью винтами М5 через промежуточный эксцентрический диск, который позволяет при повороте изменять расстояние от кромки рабочего колеса к язычку улитки корпуса вентилятора.

   На корпусе двигателя, на кронштейне поз. 2 установлен электромагнитный пускатель поз. 3 с тепловым реле типа ПМЛ–1220, имеющий степень защиты IP 54 по ГОСТ 14254 – 96.
 
 

 
 
 
 






Стружкопылесос СР-4800ББ




СР-4800ББ позволяет эксплуатировать шлифовальное деревообрабатывающее оборудование при необходимости очистки воздуха до 4800 м³./ час. Применение данной аспирации обязательно рассматривается и согласуется со специалистами нашего предприятия, потому что шлифовальное оборудование требует значительной производительности по воздуху. Применяется также широко в различных отраслях промышленности (пищевая, целлюлозно-бумажная, строительство и др.) где возникает необходимость очистить воздух от пыли. Применение биг-бега для накопления пыли и стружки и помещении биг-бега на поддон позволяют сотрудникам практически не отвлекаться на утилизацию отходов.


Максимальная производительность по воздуху, новый фильтровальный мешок, м³/час4800
Максимальная производительность по воздуху, загрязненный фильтровальный мешок, м³/час4320
Эффективность очистки воздуха, %, не менее95
Материал рабочего колесаАлюминиевый сплав АК7ч,ГОСТ 1583-89
Объем мешка накопителя, м³0,8...1,0
Количество мешков накопителей, шт.1 биг-бег
Количество всасывающих патрубков Ø 125, шт.3...4 (или в соответствии с требованиями Потребителя)
Среднее квадратическое значение виброскорости. мм/с, не более6,3
Диаметр гибких воздуховодов, мм125
Мощность электродвигателя, кВт3,0(4,0)
Суммарный уровень звука, дБА, не более78
Масса, кг, не более145
Габаритные размеры, мм, не более
    длина
    ширина
    высота
 
2100
1050
3150
Род токаПеременный, трехфазный
Номинальное напряжение, В380
Номинальный ток, А6,6...8,4 (в зависимости от режима работы)
Номинальная частота, Гц50
Номинальная частота вращения вала двигателя, об/мин2860
Потребляемая мощность, кВт, не более2,5...3,5 (в зависимости от режима работы)
Сечение жил кабеляКГ 3х2,5+1х1,5
Наружный диаметр кабеля, мм10-12
Зависимость между производительностью и полным давлением в рабочей зоне от величины зазора между рабочим колесом и язычком улитки корпуса вентилятора. При уменьшении зазора увеличивается уровень шума.

1 – при максимальном, 2 – при минимальном зазоре между рабочим колесом и языком улитки корпуса вентилятора стружкопылесоса
 
 

 
 
   Промышленный стружкопылесос СР-4800ББ изготовлен на базе вентилятора вы-сокого давления поз. 1, совмещенного с обечайкой поз. 11, которые составляют единое целое и являются корпусом стружкопылесоса. Корпус закреплен на двух опорах, установленных на основании поз. 9, оборудованном шестью виброизоляторами поз. 10.

   Воздух с древесной стружкой по гибкому воздуховоду, надетому на выходной патрубок поз. 14 коллектора поз. 12, попадает в улитку вентилятора, где древесная стружка приобретает высокую окружную скорость по касательной и попадает в обечайку поз. 11, где имеется винтовой сегмент, осаждающий стружку и твердые включения в мешок-накопитель поз. 8. Винтовой сегмент не позволяет стружке постоянно перемешиваться в объеме фильтровально-накопительного пространства аспирации и защищает фильтровальный рукав поз. 5. Отфильтрованный воздух через фильтровальный рукав возвращается обратно в помещение. Мешок-накопитель закреплен на обечайке обручем поз. 7 из стальной пружинной ленты и защелками поз. 6.

   Двигатель фланцевого исполнения закреплен на корпусе шестью винтами М5 через промежуточный эксцентрический диск, который позволяет при повороте изменять расстояние от кромки рабочего колеса к язычку улитки корпуса вентилятора.

   На корпусе двигателя, на кронштейне поз. 2 установлен электромагнитный пускатель поз. 3 с тепловым реле типа ПМЛ–1220, имеющий степень защиты IP 54 по ГОСТ 14254 – 96.
 
 

 
 
 
 






Стружкопылесос СР-4800ДУ




СР-4800ДУ позволяет эксплуатировать шлифовальное деревообрабатывающее оборудование большой производительности, например ленточные шлифовальные, калибровально-шлифовальные станки высокой производительности при необходимости очистки воздуха до 4800 м³./ час. Применение данной аспирации обязательно рассматривается и согласуется со специалистами нашего предприятия, потому что шлифовальное оборудование требует аспирации со значительной производительностью по воздуху. Применяется также широко в различных отраслях промышленности (пищевая, целлюлозно-бумажная, строительство и др.) где возникает необходимость очистить воздух от пыли.


Максимальная производительность по воздуху, новый фильтровальный мешок, м³/час4800
Максимальная производительность по воздуху, загрязненный фильтровальный мешок, м³/час4320
Эффективность очистки воздуха, %, не менее95
Материал рабочего колесаАлюминиевый сплав АК7ч,ГОСТ 1583-89
Объем мешка накопителя, м³0,22
Количество мешков накопителей, шт.2
Количество всасывающих патрубков Ø 125, шт.4 (или в соответствии с требованиями Потребителя)
Среднее квадратическое значение виброскорости. мм/с, не более6,3
Диаметр гибких воздуховодов, мм125
Мощность электродвигателя, кВт3,0(4,0)
Суммарный уровень звука, дБА, не более80
Масса, кг, не более110
Габаритные размеры, мм, не более
    длина
    ширина
    высота
 
1228
1164
3315
Род токаПеременный, трехфазный
Номинальное напряжение, В380
Номинальный ток, А6,6...8,4 (в зависимости от режима работы)
Номинальная частота, Гц50
Номинальная частота вращения вала двигателя, об/мин2860
Потребляемая мощность, кВт, не более2,5...3,5 (в зависимости от режима работы)
Сечение жил кабеляКГ 3х2,5+1х1,5
Наружный диаметр кабеля, мм10-12
Зависимость между производительностью и полным давлением в рабочей зоне от величины зазора между рабочим колесом и язычком улитки корпуса вентилятора. При уменьшении зазора увеличивается уровень шума.

1 – при максимальном, 2 – при минимальном зазоре между рабочим колесом и языком улитки корпуса вентилятора стружкопылесоса
 
 

 
 
   Промышленный стружкопылесос СР-4800ДУ изготовлен на базе вентилятора высокого давления поз. 1, совмещенного с обечайкой поз. 11, которые составляют единое целое и являются корпусом стружкопылесоса. Корпус закреплен на двух опорах, установленных на основании поз. 9, оборудованном шестью виброизоляторами поз. 10.

   Воздух с древесной стружкой по гибкому воздуховоду, надетому на выходной патрубок поз. 14 коллектора поз. 12, попадает в улитку вентилятора, где древесная стружка приобретает высокую окружную скорость по касательной и попадает в обечайку поз. 11, где имеется винтовой сегмент, осаждающий стружку и твердые включения в мешок-накопитель поз. 8. Винтовой сегмент не позволяет стружке постоянно перемешиваться в объеме фильтровально-накопительного пространства аспирации и защищает фильтровальный рукав поз. 5. Отфильтрованный воздух через фильтровальный рукав возвращается обратно в помещение. Мешок-накопитель закреплен на обечайке обручем поз. 7 из стальной пружинной ленты и защелками поз. 6.

   Двигатель фланцевого исполнения закреплен на корпусе шестью винтами М5 через промежуточный эксцентрический диск, который позволяет при повороте изменять расстояние от кромки рабочего колеса к язычку улитки корпуса вентилятора.

   На корпусе двигателя, на кронштейне поз. 2 установлен электромагнитный пускатель поз. 3 с тепловым реле типа ПМЛ–1220, имеющий степень защиты IP 54 по ГОСТ 14254 – 96.
 
 

 
 
 
 






Существенный экономический эффект при эксплуатации стружкопылесосов достигается:
- отсутствием расходов по нагреванию воздуха, возвращаемого в производственное помещение после очистки;
- экономией электроэнергии за счет применения в стружкопылесосах менее мощных двигателей 1,5...5,0 кВт, работающих одновременно с обслуживаемым оборудованием, по сравнению с использованием более мощных 10,0...40,0 кВт двигателей, обслуживающих общую аспирационную сеть и постоянно работающих независимо от оборудования;
- снижением затрат и сокращением времени на ввод в эксплуатацию нового оборудования;
- более рациональным использованием производственных площадей, возможностью использования кран-балок;
- существенным увеличением ресурса работы оборудования и инструмента а также улучшением качества обрабатываемых поверхностей за счет полного и своевременного удаления образующихся отходов.



Рабочая среда

Воздух, газовые смеси, агрессивность которых по отношению к стали обыкновенного качества и алюминиевым сплавам не превышает агрессивности воздуха, не содержащие липких веществ, твердых примесей размерами:

- сферической формы диаметром более 20 мм;

- кубической формы сечением более 15 ×15мм;

- древесную стружку любых типов со щепой сечением более 100 мм кв. и длиной более 50 мм.

Окружающая среда

Стандартная атмосфера производственных помещений и на открытом воздухе под навесом

Температура рабочей среды, ºС

От - 40 до +80

Температура окружающей среды, ºС

От - 40 до +40

Относительная влажность воздуха при 20ºС, %, не более

80

Колебание напряжения электрической сети, %, не более

10

Электрическая защита электродвигателя

Пускатель электромагнитный типа ПМЛ-1220, из-готовленный согласно ТУ У 3.11-05814256-097-97

Месторасположение агрегата при работе

В помещении и на открытом воздухе под навесом.

При установке на открытом воздухе исключить попадание атмосферной влаги на фильтровальный мешок и мешок накопитель

Среднее квадратическое значение виброскорости внешних источников вибрации, мм/с, не более

2

Климатическое исполнение по ГОСТ 15150-69

Исполнение  «У», «Т» 2-й категории размещения (для макроклиматических районов с умеренным и тропическим климатом), для работы на открытом воздухе под навесом и в помещениях.

 

Режим работы по ГОСТ 183-74

S1 (продолжительный)

 

Степень защиты по ГОСТ 14254-96

IP 40

 

Условия транспортирования и длительного хранения по ГОСТ 15150-69

2 (С) (средняя группа для закрытых и других помещений с естественной вентиляцией, где колебания температуры и влажности воздуха существенно меньше, чем на открытом воздухе, например, каменные, бетонные, металлические с теплоизоляцией и другие хранилища в районах с умеренным и холодным климатом.

Температура воздуха от -40ºС до +40ºС.

 

Условия перевозки при местных и внутренних перемещениях

В открытых или закрытых автомашинах с надежным креплением. При транспортировке в вертикальном положении без закрепления имеет склонность к опрокидыванию в связи с высоким расположением центра тяжести.

 

Предприятие провело сертификационные испытания стружкопылесосов на соответствие требованиям:
- ДСТУ 3191-95 (ГОСТ 12.2.137-96). Оборудование для кондиционирования воздуха и вентиляции. Общиие требования безопасности. Стандарт в целом.
- ГОСТ 12.1.003-83. Шум. Общие требования безопасности. Стандарт в целом.
- ГОСТ 12.1.012-90. Вибрационная безопасность. Общие требования. Стандарт в целом.
- ГОСТ 12.2.003-91. Оборудование производственное. Общие требования безопасности. Стандарт в целом.
- ГОСТ 12.4.011-89. Средства защиты работающих. Общие требования и классификация. Раздел 2.
- ДСТУ 3186-95 (ГОСТ 30342-96). Системы вентиляционные. Методы испытания воздушных фильтров. Стандарт в целом. - ТУ У 29.2-21474050-002-2002. Стружкопылесосы СП-3200, СП-3200ДУ, СП-4800ДУ, СП-5600, СР-3200, СР-4800, СР-5600.

Стружкопылесосы позволяют обеспечить микроклимат рабочей зоны согласно требованиям:
- ДСН 3.3.6.042-99. Санитарные нормы микроклимата производственных помещений.
- ГОСТ 12.1.005-88 ССБТ. Общие санитарно-гигиенические требования к воздуху рабочей зоны.

По результатам испытаний в государственной системе сертификации Укр СЕПРО получен сертификат соответствия серии ВБ № 336123, о чем сделана запись в государственном Реестре под номером UA1.007.0017710-05.

При эксплуатации стружкопылесосов в закрытых производственных помещениях, последние должны быть оборудованы системой приточно-вытяжной вентиляции, соответствующей требованиям ГОСТ 12.4.021 и СНиП 2.04.05. Кратность воздухообмена системы приточно-вытяжной вентиляции в закрытых помещениях деревообрабатывающего производства должна обеспечивать выполнение требований ГОСТ 12.1.041 и ГОСТ12.1.005.




Предприятие ГОРЛУШКО на основании длительного опыта производства, гарантийного и послегарантийного обслуживания местных аспирационных систем подтверждает следующие показатели надежности стружкопылесосов:
- полный срок службы не менее 10 лет;
- наработка на отказ не менее 8000 часов;
- ресурс до капитального ремонта не менее 16000 часов.